Polymer Labs nedir , Celestia airdrop fırsatı🥇
Hoşgeldin arkadaşım 🙌
Bugünkü makalemde size bahsetceğim konular;
- Polymer Labs ' da early fırsatı ,
- Celestia($TIA) stake ederek nasıl airdrop kazanabilirsiniz ,
- Bazı kripto terimlerinden bahedeceğim.
1.Polymer labs nedir ;
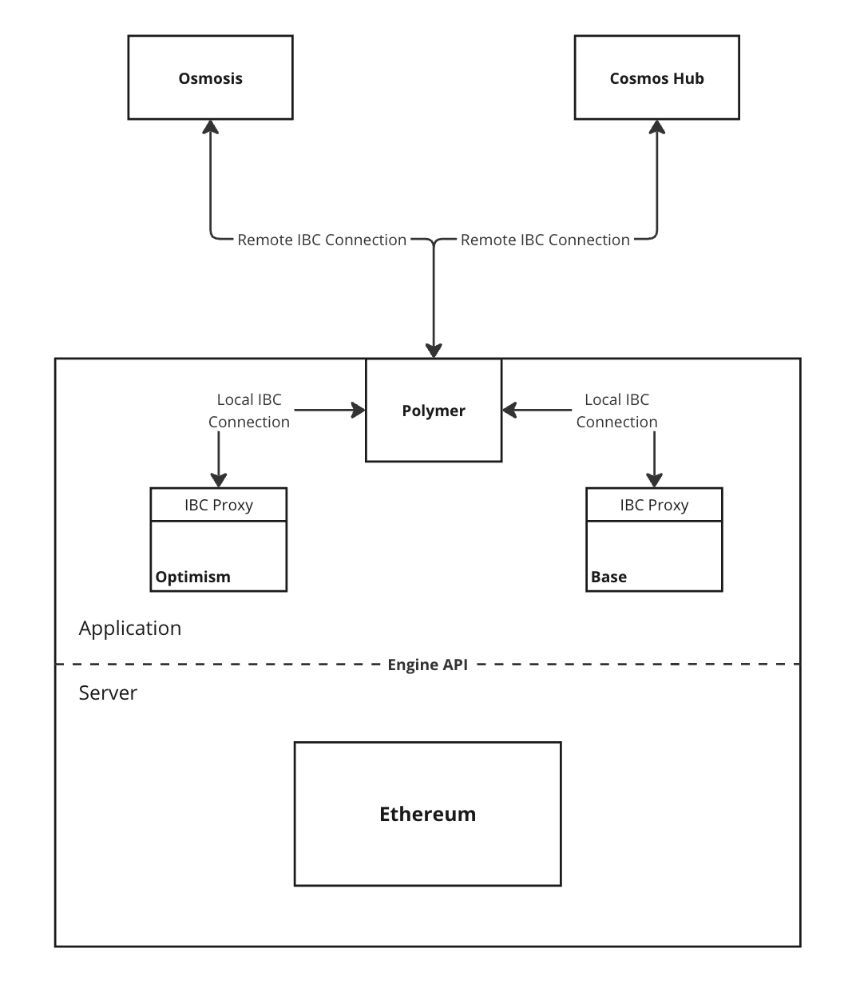
Polymer, Ethereum'un Birlikte Çalışabilirlik Merkezidir ve Ethereum Katman(Layer) 2'lerini Blok Zincirleri Arası İletişim Protokolünü kullanarak bağlar.
Biraz daha konuyu genişletirsek ;
IBC Protokolünü Cosmos Dışına Taşıyan Blockchain Projesi: Polymer Labs
- Blockchain kullanımı her geçen gün artarak popülaritesini koruyor. NFT, metaverse ve Web3 gibi blok zinciri endüstrisindeki trendler hızlı bir şekilde büyümeye devam ediyor. Polymer Labs, IBC altyapısını geliştirmek isteyen girişimcileri bir araya getiriyor. Projenin vizyonu bu motivasyon çerçevesinde gelişiyor.
- İlk modüler IBC tabanlı ağ protokolü olan Polymer Labs, Cosmos ve IBC’de yeni olan birlikte çalışabilirliği tüm blok zincirlerine ölçeklendirmeyi hedefliyor. Polymer’in vizyonu, öncelikle açık kaynaklı ve sürdürülebilir bir endüstri standardı olan IBC x Polymer ile birbirine bağlanan çok zincirli bir gelecek inşa etmek. Polymer, ekosistemler arasında E2E IBC bağlantısı sağlayacak IBC tabanlı çok kümeli ağ protokolü oluşturuyor.
- IBC (Inter-Blockchain Communication), iki veya daha fazla blok zincirinin iletişim kurmasına izin veren standart birlikte çalışabilirlik protokolüdür. Daha basit ifadeyle genel amaçlı bir mesaj geçiş protokolüdür ve IBC kullanılarak her türlü veri gönderilip alınabilir. Cosmos topluluğu, IBC özelliklerini geliştirerek Cosmos ağı üzerinden IBC iletişimini sağlayan “Cosmos modülleri” olarak uyguladı. Cosmos IBC sistemi, hafif istemcileri alan ve üstüne büyük miktarlarda ekonomik değer koyan ilk sistemdir.
- Polymer Labs, IBC’yi Cosmos ekosistemi dışındakiler de dahil olmak üzere tüm blok zincirlerine getirmeye odaklanmıştır. Polymer Labs, bu sistemi yerel IBC desteği olmayan zincirler arasında Inter-Blockchain Communication’ı (IBC) etkinleştirmek için Cosmos SDK’nın üzerine inşa ediyor. Mevcut sistemde, yalnızca IBC özellikli zincirler birbirleriyle iletişim kurabiliyor ve IBC etkin olmayan zincirler şu anda zincirler arasında mesajlar göndermek için IBC’yi kullanamıyor.
- Çok zincirli bir merkez olarak Polymer Chain, IBC standartlarını ve özelliklerini takip ederek,
- IBC özellikli blok zincirler link
- IBC-etkin blok zincirler <>IBC olmayan blok zincirler
- IBC olmayan blok zincirleri <> IBC olmayan blok zincirler arasında etkileşimi sağlar.
- Polymer Labs, birlikte çalışabilirlik altyapısının geleceğini Celestia ile birlikte geliştirmekten heyecan duyuyor. Geçtiğimiz birkaç yılda birden fazla L1 ve L2 blok zincirinin başlatıldığını ve genişlediğini gözlemledik. Polymer, temel altyapıdaki yeniliklerin yalnızca çok zincirli bir geleceğe değil, aynı zamanda geleceğin geliştiricileri için modüler bir teknoloji yığını sağlamaya yönelik olacağına inanıyor. İşbirliğimiz, Celestia'daki toplamalar arasında ve gelecekte diğer blok zincirlerindeki uygulamalar arasında da kesintisiz iletişime olanak tanıyacak.
- Polymer ve Celestia'nın blockchain ekosisteminin geleceğine yönelik vizyonları birbirini tamamlayıcı niteliktedir.
“Celestia'nın Veri Kullanılabilirliği (DA) Katmanı olarak Celestia'yı kullanan iyimser ve ZK toplamaları vizyonu, bunları birbirine bağlayan modüler bir ağ oluşturma bileşeni gerektiriyor. Polymer Kurucu Ortağı Bo Du, Celestia'nın altyapısıyla ilgili olduğundan, Polymer şu anda tüm Celestia toplamalarını iyimser IBC hafif istemcilerine nasıl bağlayacağını araştırıyor” diyor.
“Polymer'in IBC kullanarak ekosistemler arasında köprü kurma vizyonu, Celestia'daki bağlantı toplamalarla mükemmel bir şekilde uyum sağlıyor çünkü bunlar, kökleri çeşitli ekosistemlerden gelen çeşitli uygulama ortamlarından oluşacak. IBC'yi iyimser toplamalara getirmek için Polymer ile işbirliği yapmaktan mutluluk duyuyoruz" diyor Celestia CTO'su Ismail Khoffi. -
Bu fırsatı birlikte ele almaktan ve hem Celestia hem de Polymer tarafından desteklenen modüler bir blockchain geleceğinin kilidini açmaktan heyecan duyuyoruz. Kilometre taşlarını tamamlayıp ana ağa yaklaştıkça ek güncellemeleri paylaşmaya devam edeceğiz. IBC'yi tüm zincirlerde ölçeklendirmek ve iyimser IBC Light Client'ları uygulamak istiyorsanız lütfen buradan Discord'umuzdan ve buradan Twitter'dan bize ulaşın .
Polymer Hakkında:
Polymer , ilk modüler IBC tabanlı ağ protokolüdür. Polimer zinciri, hafif istemci durum kanıtı doğrulamasını temel alan gerçekten güvenilmez bir mimariyle tüm entegre zincirlerde IBC bağlantısı sağlar.
Celestia Hakkında:
- Celestia ilk modüler blockchain ağıdır. Celestia, mutabakatı uygulamadan ayırarak herkesin yeni bir mutabakat ağını önyükleme yükü olmadan kendi blok zincirini kolayca dağıtmasına olanak tanıyacak.
- Son olarak toparlamak gerekirse Polymer zinciri, hafif istemci durum kanıtı doğrulamasına dayalı güvenilir bir mimariyle tüm zincirlerde ZK-IBC bağlantısını etkinleştirmeyi planlıyor. Polymer ekibinin öncelikli amacı IBC birlikte çalışabilirliğini tüm zincirlere ölçeklendirmek
- Yatırımcıları da baya iyi görünüyor
- Partnerleri
🥇Gelelim early olma fırsatına
👀 link
- Ben validatör için başvurdum.siz kendi kararınızı verin.
- Community için '' Rues Community ' 'yazabilirsiniz 🚨
2.Celestia ($TIA) stake ederek nasıl airdrop kazanabilirim
- Ekosistemine bir göz atalım
- Ben 2 yerde stake ediyorum ;
Keplr wallet ;
- Bu kolay olan arkadaşlar , Tia hesabımıza bir miktar gönderiyoruz stake basıp validatör seçiyoruz 🤳 Nako Türk hocamın Videosu:
- Diğreri ise
Mikyway ;
- link ' e tıklayıp giriyoruz
- Cüzdanı bağlıyorsunuz
- $Tıa stake ediyorsunuz
- Karşılığında $milkTIA alıyorsunuz
- Airdrop ihtimali masada 🎁
- Ayrıca isterseniz Osmo üzerinde likidite'de ekleyebilirsiniz 🤷♂️
3.Kripto terimleri
- Bütün hepsinden bahsetmeyeceğim . Bu blogda ismi geçenlerden bahsedeceğim;
- Validatör: Blockchain ağlarında işlemleri doğrulayan ve blokları oluşturan düğümlerdir. Bunlar genellikle ağın güvenliğini sağlamak için tokenlerini kilitlerler ve karşılığında ödül alırlar.
- Node: Bir ağda yer alan herhangi bir cihaz veya bilgisayardır. Blockchain ağlarındaki düğümler veya ağ katılımcıları genellikle "node" olarak adlandırılır.
- IBC (Inter-Blockchain Communication): Farklı blockchain ağları arasında iletişimi sağlayan bir protokoldür. Bu protokol, token transferi, veri paylaşımı ve iletişim gibi işlemleri farklı blockchain ağları arasında mümkün kılar.
- Layer 2: Ana blockchain ağının üzerine inşa edilen ek protokoller veya katmanlardır. Bu katmanlar genellikle işlem hızını artırır, ölçeklenebilirlik sağlar ve işlem ücretlerini düşürür.
- Stake: Bir blockchain ağına katkıda bulunmak veya ağ üzerinde belirli bir işlevi gerçekleştirmek için kripto varlık sahiplerinin tokenlerini kilitledikleri bir eylemdir. Bu, ağda güvenliği artırabilir ve katılımcılara ödül kazandırabilir.
- Early: Erken dönemde bir projeye katılan veya yatırım yapan kişileri ifade eder. Erken yatırımcılar genellikle projenin büyümesinden daha fazla fayda sağlayabilirler.
- Relayer: IBC gibi protokollerde farklı blockchain ağları arasında iletişimi sağlayan ve bilgiyi aktaran bir tür aracıdır. Bu, veri veya token transferini mümkün kılar.
Bu terimler, kripto para dünyasında sıklıkla kullanılan ve genellikle blockchain teknolojisi, ağlar arası iletişim ve katılımcıların rolleri gibi konularla ilgilidir.
SON🙌
Burada değerli hocalarımdan topladığım bilgiler sayesinde bu blogu yazdım ayrıca hepsine teşekkür ediyorum
@Rues , Nako Türk , heatley , koin saati
Ayrıca ;
- Solana airdrop fırsatlarından bahsettiğim makalem 📌 İncele
- Yapay zeka ile nasıl Blog yazarım 📌 incele
- Bulbapp'da nasıl puan / token kazanırım 📌 İncele
Eğer sorunuz olursa bana sormaktan çekinmeyiniz
Telegram : Makaron_AG
Yorumlarda buluşalım
- Sağlıcakla kalın 🎈🎈
